领湃科技涨超10%创历史新高,科恒股份午后20CM涨停个股配资,信宇人、利元亨涨超10%,英联股份、金龙羽、德新科技涨停,金银河、宏工科技、曼恩斯特等跟涨。
举报 第一财经广告合作,请点击这里此内容为第一财经原创,著作权归第一财经所有。未经第一财经书面授权,不得以任何方式加以使用,包括转载、摘编、复制或建立镜像。第一财经保留追究侵权者法律责任的权利。如需获得授权请联系第一财经版权部:banquan@yicai.com 相关阅读
中旗新材今日涨停 机构资金博弈激烈中旗新材今日涨停 机构资金博弈激烈
0 05-30 16:31
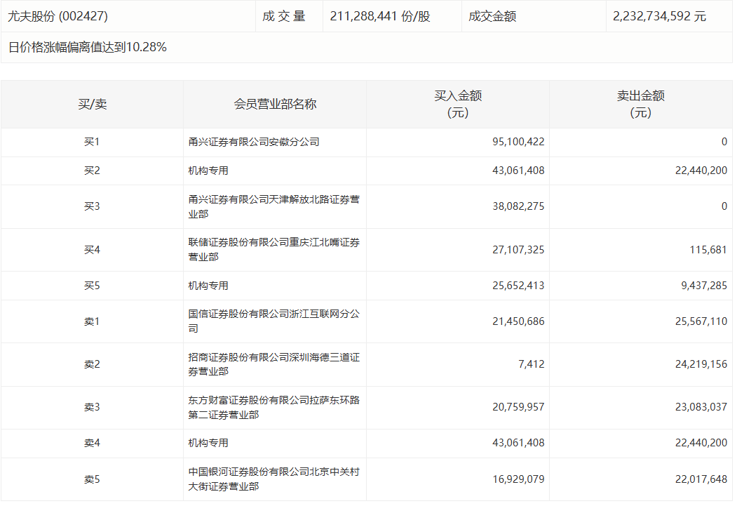
尤夫股份今日涨停 甬兴证券安徽分公司席位净买入9510.04万元尤夫股份今日涨停 甬兴证券安徽分公司席位净买入9510.04万元
0 05-28 16:28
今日34只个股涨停破板今日34只个股涨停破板
0 05-26 16:33
中核国际港股涨超180%中核国际港股涨超180%
18 05-26 14:29
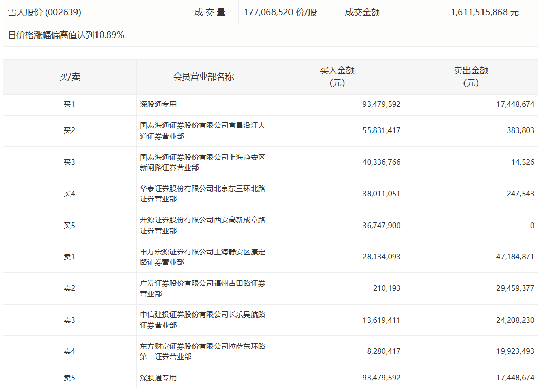
雪人股份今日涨停 深股通专用席位买入9347.96万元并卖出1744.87万元个股配资雪人股份今日涨停 深股通专用席位买入9347.96万元并卖出1744.87万元
18 05-23 16:26 一财最热 点击关闭易配网提示:文章来自网络,不代表本站观点。